OOPS! You forgot to upload swfobject.js ! You must upload this file for your form to work.


Larry Page at his own expense develops flying device


xtreview is your : Video card - cpu - memory - Hard drive - power supply unit source

Larry Page at his own expense develops flying device


Recommended : Free unlimited image hosting with image editor

POSTER: computer news   ||   LARRY PAGE AT HIS OWN EXPENSE DEVELOPS FLYING DEVICE

DATE:2016-06-11

According to Bloomberg news, the co-founder of Google - Larry Page  - at his own expense supports the development of simple and compact flying vehicles.

As sources say, since 2010 Paige investing in a young company Zee.Aero and already spent on its content  about $ 100 million More recently, its support felt by another company -. Kitty Hawk.  Both of them work separately on separate projects.  Decent wages and interesting projects and other specialists from NASA, Boeing and SpaceX.

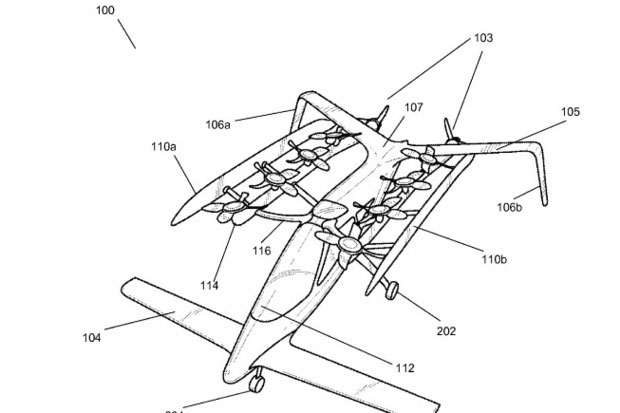
A possible project Zee.Aero can be seen in the pictures of the patents that the company has received four years ago.  Part of the solution is based on the same principle as the quadrocopters.  This will facilitate the takeoff and landing in restricted areas.  Horizontal flight facilitate the wings - it will reduce the load on the rotors.  The main problem for these aircrafts will be the same as for the smartphones -  batteries.  While there is no high-capacity batteries without increasing the physical size of the battery, all of these projects will not come out of the laboratories.


Related Products :


xtreview is your : Video card - cpu - memory - Hard drive - power supply unit source

Larry Page at his own expense develops flying device


Xtreview Support

N-Post:xxxx
Xtreview Support
LARRY PAGE AT HIS OWN EXPENSE DEVELOPS FLYING DEVICE
Please Feel Free to write any Comment;
Thanks





Related news:

Asus has finalized the cooling system of the ROG Rampage VI Apex board Intel X299 (2017-07-14)
Asus Rampage IV Black Edition overclocked to the frequency 195 MHz (2016-10-25)
EK Water Blocks has introduced water block to the motherboard Asus ROG Rampage V Edition 10 (2016-08-03)
Larry Page at his own expense develops flying device (2016-06-11)
Asus introduced the motherboard ROG Rampage V Edition 10 (2016-05-31)
Google advertises its mobile applications on the home page (2015-12-29)
Google launched indexing HTTPS-pages (2015-12-18)
Mozilla refuses to show advertising on the home page of Firefox (2015-12-08)
EK Water Blocks has introduced Monoblock water block for motherboard ASUS Rampage V Extreme (2015-02-19)
Asus Rampage V Extreme became the most popular board based on Intel X99 among overclockers (2015-02-01)
EK Water Blocks for Asus Rampage IV Black Edition (2013-12-25)
ASUS Rampage IV Black Edition (2013-11-11)
Asus Rampage IV Black Edition (2013-11-10)
ASUS Rampage IV Black Edition (2013-09-11)
Asus Rampage IV Extreme Black (2013-04-05)
Tablet Surface appeared on Microsoft site page (2012-10-05)
Notebook Juniper Systems RAMPAGE 6 (2012-05-23)
Asus Rampage IV Gene X79 (2012-01-17)
ASUS ROG Rampage IV Gene (2011-12-07)
Asus ROG Rampage IV Formula X79 announced (2011-12-01)

  Back to News

Post Quick Reply:

Bold ItalicUnderline Wrap [QUOTE] tags around selected text

                                        
Verif code:

                 

xtreview -  <p>To figure out your <a href=review96.htm title=\'best laptops\'>best laptops</a> .Welcome to XTreview.com. Here u can find a complete computer hardware guide and laptop rating .More than 500 reviews of modern PC to understand the basic architecture </p>

laptop ratings

To figure out your best laptops .Welcome to XTreview.com. Here u can find a complete computer hardware guide and laptop rating .More than 500 reviews of modern PC to understand the basic architecture


xtreview -  7600gt is the middle card range.
We already benchmarked this video card and found that ...

7600gt review
7600gt is the middle card range. We already benchmarked this video card and found that ...



Loading ...

Search News                 

 geforce 8800gtx and 8800gts
 Xtreview software download Section
 AMD TURION 64 X2 REVIEW
 INTEL PENTIUM D 920 , INTEL PENTIUM D 930
 6800XT REVIEW
 computer hardware REVIEW
 INTEL CONROE CORE DUO 2 REVIEW VS AMD AM2
  INTEL PENTIUM D 805 INTEL D805
 Free desktop wallpaper
 online fighting game
 Xtreview price comparison center
Lastest 15 Reviews

  • 233-e8600 vs q9400 which is better dual or quad core
  • By:Cpu review

  • 232-intel core i7 920 review benchmark and overclocking
  • By:processor review

  • 231-efi bios review msi click bios
  • By:Other review

  • 230-driver scanner review , search and update your drivers
  • By:Software review

  • 229-radeon hd 4670 vs geforce 9500 gt vs geforce 9800 gt vs hd 4850 overclock benchmark and review
  • By:Video card review

  • 228-crossfire hd 4870 x2 vs crossfire hd 4870 review and benchamrk
  • By:Video card review

  • 227-hd 4870 x2 vs gtx 280 full review and benchmark
  • By:computer news

  • 226-amd radeon hd 4870 x2 2x1gb xtreview exclusive review
  • By:Video card review

  • 225-best antivirus software for 2008 - full review
  • By:computer news

  • 224-registry cleaner roundup
  • By:computer news

  • 223-apack zerotherm processor cooler review : btf80 btf90 btf92 o.e btf95 fanless and nirvana nv120 premium
  • By:Processor cooler review

  • 222-choosing your computer optimum configurations
  • By:computer selection

  • 221-budget cooler review
  • By:Cooler review

  • 220-nvidia 9600 gt review and benchmark
  • By:video card review

  • 219-geforce 8800 gts vs 8800 gt vs hd 2900 xt vs hd 3850 vs hd 3870 review benchmark and overclocking
  • By:Video card review

    Click Here To


    Submit And Dispaly Your Own News :-)


    Rss


    Rss Feeds


  • 101-sony vgn-fj1sr review notebook performance benchmark
  • By:notebook review

  • 102-toshiba tecra a6-s513 review notebook performance benchmark
  • By:notebook review

  • 103-retrieve lost partition undelete unformat file recovery
  • By:hdd recovery

  • 104-imac review intel duo core vs imac g5
  • By:hardware review

  • 105-x1900xtx review benchmark overclock performance
  • By:video card review

  • 106-nvidia nforce 500 vs ati crossfire 3200 chipset review
  • By:chipset review

  • 107-d 310 review celeron d310 overclock
  • By:cpu review

  • 108-intel conroe core duo 2 review vs amd am2
  • By:cpu review

  • 109-external hard drive review test comparison : transcend smartdisk kano codi seagate wiebetech wd buffalo linksys ximeta cms
  • By:hdd test

  • 110-cpu comparison chart benchmark intel vs amd speed 3damrk unreal2004 far cry doom
  • By:new reviewer

  • 111-cpu comparison chart benchmark encoding intel vs amd speed
  • By:new reviewer

  • 112-cpu comparison chart daily use benchmark intel vs amd speed
  • By:new reviewer

  • 113-reset bios password dell laptop desktop toshiba ibm compaq and other
  • By:hardware review

  • 114-7600gs review overclock benchmark volt mod : palit
  • By:video card review

  • 115-conroe e6600 review benchmark vs amd fx 62 vs fx 60 vs intel 955 xe
  • By:conroe reiew




















































































    xtreview -








    video card 7900 GTX







     

     

     

     

    Last News


    - The new version of GPU-Z finally kills the belief in the miracle of Vega transformation
    - The motherboard manufacturer confirms the characteristics of the processors Coffee Lake
    - We are looking for copper coolers on NVIDIA Volta computing accelerators
    - Unofficially about Intels plans to release 300-series chipset
    - The Japanese representation of AMD offered monetary compensation to the first buyers of Ryzen Threadripper
    - This year will not be released more than 45 million motherboards
    - TSMC denies the presentation of charges from the antimonopoly authorities
    - Radeon RX Vega 64 at frequencies 1802-1000 MHz updated the record GPUPI 1B
    - AMD itself would like to believe that mobile processors Ryzen have already been released
    - AMD Vega 20 will find application in accelerating computations
    - Pre-orders for new iPhone start next week
    - Radeon RX Vega 57, 58 and 59: the wonders of transformation
    - ASML starts commercial delivery of EUV-scanners
    - The older Skylake processors with a free multiplier are removed from production
    - Meizu will release Android-smartphone based on Helio P40
    - AMD Bristol Ridge processors are also available in American retail
    - The fate of Toshiba Memory can be solved to the next environment
    - duo GeForce GTX 1080 Ti in GPUPI 1B at frequencies of 2480-10320 MHz
    - New Kentsfield overclocking record up to 5204 MHz
    - Lenovo released Android-smartphone K8





























































































       
      Click Here For Full Screen Size
    HALO 3 HALO 3 - Final Fight!



    PREY Prey is something you don t often see anymore: a totally unigue shooter experience.
    Today Image  

    computer news computer parts review Old Forum Downloads New Forum Login Join Articles terms Hardware blog Sitemap Get Freebies

    Page loaded in 0.207 seconds.

    xtreview English to German | xtreview English to Spanish | xtreview English to French | xtreview English to Italian | xtreview English to Portuguese | xtreview English to Greek | xtreview English to Japenese | xtreview English to Korean | xtreview English to Russian | xtreview English To Chinese Tradational | xtreview English To arabic