OOPS! You forgot to upload swfobject.js ! You must upload this file for your form to work.


Apple has patented weather sensors and interactive 3D-display


xtreview is your : Video card - cpu - memory - Hard drive - power supply unit source

Apple has patented weather sensors and interactive 3D-display


Recommended : Free unlimited image hosting with image editor

POSTER: computer news   ||   APPLE HAS PATENTED WEATHER SENSORS AND INTERACTIVE 3D-DISPLAY

DATE:2014-04-26

The new smartphone Apple, known as the iPhone 6 will receive not only a larger screen, but also weather sensors.  This is confirmed by new patents, which recently received the U.S. company.  

According to the newspaper, the U.S. Patent Office has approved just two new patent applications filed by Apple back in 2012.  In a first application entitled Electronic devices with sensors environment is described in detail certain device with multiple sensors.  They allow to determine the temperature of the air and humidity, barometric pressure and other parameters.  All this information will be processed system headed by the processor and then appear on the screen of the mobile device.

The second patent was obtained on Electronic devices with temperature sensors.  According to description, Apple proposes to use to measure air temperature and the user's body temperature sensor that can be embedded in the key switch or any other component of the mobile device.  

Unfortunately, the timing of the patented technologies are not specified.  It is possible that similar weather sensors appear in the Apple mobile devices in the coming years.

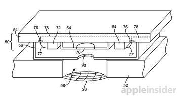
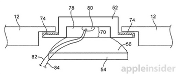
AppleInsider also reports that the Office for the registration of patents and trademarks issued U.S. Apple another patent related interactive 3D-displays.  American company proposes to use a unique technology that allows you to create displays with support for three-dimensional image.  

Technology is really similar to a hologram, but from a technical point of view differs markedly from it.  Three main components of the unique interactive 3D-display - the screen to create 3D-image, an optical system and a set of sensors.  Sensors are responsible for tracking user actions and parabolic mirrors - for projecting an image directly into the air.

It is noteworthy that the application for registration of a patent was filed back in 2012.

It should be noted that the three-dimensional display is very similar to Apple Vermeer screen with 360-degree view, which was established in 2011.


Related Products :


xtreview is your : Video card - cpu - memory - Hard drive - power supply unit source

Apple has patented weather sensors and interactive 3D-display


Xtreview Support

N-Post:xxxx
Xtreview Support
APPLE HAS PATENTED WEATHER SENSORS AND INTERACTIVE 3D-DISPLAY
Please Feel Free to write any Comment;
Thanks





Related news:

The six-core processor Intel Coffee Lake has conquered the frequency of 5.0 GHz (2017-09-05)
Micron has sold Lexar assets to Chinese (2017-09-05)
One more copy of Core i9-7960X has overcome a boundary of 5000 points in Cinebench R15 (2017-09-04)
Morningstar experts believe that Intel has a good potential in the field of artificial intelligence (2017-09-04)
Samsung has released an Android-smartphone Galaxy J7 plus with a dual camera (2017-09-04)
Over the past week, the Monero rate has almost doubled (2017-08-24)
The virtual reality helmet of HTC Vive has fallen in price to 599 per set (2017-08-22)
GlobalFoundries has become the worlds second largest manufacturer, which can produce solutions like AMD Vega (2017-08-17)
Over the past three months, NVIDIA has earned at least 150 million (2017-08-11)
Core i9-7900X at 5960 MHz has updated the GPUPI for CPU 1B (2017-08-08)
Tesla Model X has become cheaper (2017-08-05)
Steam has an independent version of Call of Duty Modern Warfare Remastered (2017-07-28)
Tesla has enlarged the options packages and is preparing to abolish the minor version of Model S (2017-07-24)
Core i9-7900X has updated the Cinebench R11.5 record at 5941 MHz (2017-07-22)
GeForce GTX 1080 Ti on the frequency of the chip 2632 MHz has updated the records 3DMark Fire Strike (2017-07-19)
Asus has finalized the cooling system of the ROG Rampage VI Apex board Intel X299 (2017-07-14)
Popularity of cryptocurrency as a means of payment has not grown (2017-07-13)
The manufacturer has nothing to do with the Pentium G4560 (2017-07-12)
Set of Oculus Rift and manipulators Oculus Touch has fallen in price to 399 dollars (2017-07-10)
Intel Pentium G4560 turned out so good that Intel has to reduce its sales (2017-07-10)

  Back to News

Post Quick Reply:

Bold ItalicUnderline Wrap [QUOTE] tags around selected text

                                        
Verif code:

                 

xtreview -  <p>To figure out your <a href=review96.htm title=\'best laptops\'>best laptops</a> .Welcome to XTreview.com. Here u can find a complete computer hardware guide and laptop rating .More than 500 reviews of modern PC to understand the basic architecture </p>

laptop ratings

To figure out your best laptops .Welcome to XTreview.com. Here u can find a complete computer hardware guide and laptop rating .More than 500 reviews of modern PC to understand the basic architecture


xtreview -  7600gt is the middle card range.
We already benchmarked this video card and found that ...

7600gt review
7600gt is the middle card range. We already benchmarked this video card and found that ...



Loading ...

Search News                 

 geforce 8800gtx and 8800gts
 Xtreview software download Section
 AMD TURION 64 X2 REVIEW
 INTEL PENTIUM D 920 , INTEL PENTIUM D 930
 6800XT REVIEW
 computer hardware REVIEW
 INTEL CONROE CORE DUO 2 REVIEW VS AMD AM2
  INTEL PENTIUM D 805 INTEL D805
 Free desktop wallpaper
 online fighting game
 Xtreview price comparison center
Lastest 15 Reviews

  • 233-e8600 vs q9400 which is better dual or quad core
  • By:Cpu review

  • 232-intel core i7 920 review benchmark and overclocking
  • By:processor review

  • 231-efi bios review msi click bios
  • By:Other review

  • 230-driver scanner review , search and update your drivers
  • By:Software review

  • 229-radeon hd 4670 vs geforce 9500 gt vs geforce 9800 gt vs hd 4850 overclock benchmark and review
  • By:Video card review

  • 228-crossfire hd 4870 x2 vs crossfire hd 4870 review and benchamrk
  • By:Video card review

  • 227-hd 4870 x2 vs gtx 280 full review and benchmark
  • By:computer news

  • 226-amd radeon hd 4870 x2 2x1gb xtreview exclusive review
  • By:Video card review

  • 225-best antivirus software for 2008 - full review
  • By:computer news

  • 224-registry cleaner roundup
  • By:computer news

  • 223-apack zerotherm processor cooler review : btf80 btf90 btf92 o.e btf95 fanless and nirvana nv120 premium
  • By:Processor cooler review

  • 222-choosing your computer optimum configurations
  • By:computer selection

  • 221-budget cooler review
  • By:Cooler review

  • 220-nvidia 9600 gt review and benchmark
  • By:video card review

  • 219-geforce 8800 gts vs 8800 gt vs hd 2900 xt vs hd 3850 vs hd 3870 review benchmark and overclocking
  • By:Video card review

    Click Here To


    Submit And Dispaly Your Own News :-)


    Rss


    Rss Feeds


  • 101-sony vgn-fj1sr review notebook performance benchmark
  • By:notebook review

  • 102-toshiba tecra a6-s513 review notebook performance benchmark
  • By:notebook review

  • 103-retrieve lost partition undelete unformat file recovery
  • By:hdd recovery

  • 104-imac review intel duo core vs imac g5
  • By:hardware review

  • 105-x1900xtx review benchmark overclock performance
  • By:video card review

  • 106-nvidia nforce 500 vs ati crossfire 3200 chipset review
  • By:chipset review

  • 107-d 310 review celeron d310 overclock
  • By:cpu review

  • 108-intel conroe core duo 2 review vs amd am2
  • By:cpu review

  • 109-external hard drive review test comparison : transcend smartdisk kano codi seagate wiebetech wd buffalo linksys ximeta cms
  • By:hdd test

  • 110-cpu comparison chart benchmark intel vs amd speed 3damrk unreal2004 far cry doom
  • By:new reviewer

  • 111-cpu comparison chart benchmark encoding intel vs amd speed
  • By:new reviewer

  • 112-cpu comparison chart daily use benchmark intel vs amd speed
  • By:new reviewer

  • 113-reset bios password dell laptop desktop toshiba ibm compaq and other
  • By:hardware review

  • 114-7600gs review overclock benchmark volt mod : palit
  • By:video card review

  • 115-conroe e6600 review benchmark vs amd fx 62 vs fx 60 vs intel 955 xe
  • By:conroe reiew




















































































    xtreview -








    video card 7900 GTX







     

     

     

     

    Last News


    - The new version of GPU-Z finally kills the belief in the miracle of Vega transformation
    - The motherboard manufacturer confirms the characteristics of the processors Coffee Lake
    - We are looking for copper coolers on NVIDIA Volta computing accelerators
    - Unofficially about Intels plans to release 300-series chipset
    - The Japanese representation of AMD offered monetary compensation to the first buyers of Ryzen Threadripper
    - This year will not be released more than 45 million motherboards
    - TSMC denies the presentation of charges from the antimonopoly authorities
    - Radeon RX Vega 64 at frequencies 1802-1000 MHz updated the record GPUPI 1B
    - AMD itself would like to believe that mobile processors Ryzen have already been released
    - AMD Vega 20 will find application in accelerating computations
    - Pre-orders for new iPhone start next week
    - Radeon RX Vega 57, 58 and 59: the wonders of transformation
    - ASML starts commercial delivery of EUV-scanners
    - The older Skylake processors with a free multiplier are removed from production
    - Meizu will release Android-smartphone based on Helio P40
    - AMD Bristol Ridge processors are also available in American retail
    - The fate of Toshiba Memory can be solved to the next environment
    - duo GeForce GTX 1080 Ti in GPUPI 1B at frequencies of 2480-10320 MHz
    - New Kentsfield overclocking record up to 5204 MHz
    - Lenovo released Android-smartphone K8





























































































       
      Click Here For Full Screen Size
    HALO 3 HALO 3 - Final Fight!



    PREY Prey is something you don t often see anymore: a totally unigue shooter experience.
    Today Image  

    computer news computer parts review Old Forum Downloads New Forum Login Join Articles terms Hardware blog Sitemap Get Freebies

    Page loaded in 0.487 seconds.

    xtreview English to German | xtreview English to Spanish | xtreview English to French | xtreview English to Italian | xtreview English to Portuguese | xtreview English to Greek | xtreview English to Japenese | xtreview English to Korean | xtreview English to Russian | xtreview English To Chinese Tradational | xtreview English To arabic